JEAN-DANTON LAFFERT

 

BIO

PROYECTOS
LABORATORIO
TEXTOS
CONTACTO
ENG ESP



SIMBIOSIS MEDITATIVA

 

ESTRUCTURA ELECTRONICA DEL PROYECTO

 

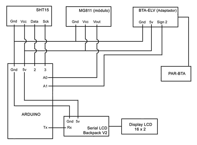
Dispositivos

. El procesamiento de datos de los sensores se efectúa por medio de un microcontrolador Arduino Mega 2560

.  Para la lectura de dióxido de carbono, se utiliza el módulo sensor MG- 811 de Sandbox Electronics. Las hojas de datos pueden revisarse en el siguiente link:
  http://netdrive.envell.com/pic/ebay/SEN-000007/SEN-000007_Datasheet.pdf

Para el monitoreo de la temperatura y humedad se utiliza el sensor SHT15 de Sensirion:  https://www.sparkfun.com/datasheets/Sensors/SHT1x_datasheet.pdf

Para la medición de la influencia de la luz del proyector en la tasa fotosintética de la planta
se utiliza un medidor de quantum de luz, o P.A.R. meter modelo MQ100de Apogee, conectado
a un módulo amplificador, modelo PAR-BTA de Vernier:
http://www.vernier.com/products/sensors/solar-radiation-sensors/par-bta/
Este sensor se conecta a Arduino por medio de un adaptador especial. Revísese a continuación:
http://www.vernier.com/products/accessories/proto-board-adapters/bta-elv/

. Para la visualización de los datos procesados por los sensores, se utiliza un display alfanumérico de 16x2 GDM1602K:
http://www.olimex.cl/product_info.php?products_id=185&product__name=Display_Alfanumerico_16x2_blanco_negro
Para disminuír la cantidad de pines en la conección del display a Arduino, se utiliza un  Serial Backpack V2, de este modo se recurrire solo a un pin en Arduino:
http://www.olimex.cl/product_info.php?products_id=975&product__name=Serial_LCD_Backpack_V2

 

El código de control de sensores puede revisarse en el siguiente link (Arduino):

Código de control de sensores

 

Diagrama del circuito