JEAN-DANTON LAFFERT

 

BIO

PROJECTS
ART LABORATORY
TEXTS
CONTACT
ENG ESP



MEDITATIVE SYMBIOSIS

ELECTRONIC STRUCTURE

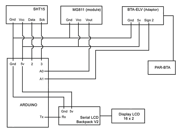
Devices

. The data from the sensors will be processed with an Arduino microcontroller.

. The sensors description is the following:

a) Carbon dioxide: MG- 811 Sandbox Electronics. datasheet: http://netdrive.envell.com/pic/ebay/SEN-000007/SEN-000007_Datasheet.pdf

b) For temperature and humidity regulation:SHT15 Sensirion. datasheet: https://www.sparkfun.com/datasheets/Sensors/SHT1x_datasheet.pdf

c) For the light measuring: PAR Meter (Quantum Light Sensor) MQ100 Apogee with a amplifier module PAR-BTA Vernier. Technical info: http://www.vernier.com/products/sensors/solar-radiation-sensors/par-bta/ For connect this sensor to Arduino I will use an adapter: http://www.vernier.com/products/accessories/proto-board-adapters/bta-elv/

f) For data external visualisation: Lcd Display GDM1602K / http://www.olimex.cl/product_info.php?products_id=185&product__name=Display_Alfanumeric o_16x2_blanco_negro / This display wil be connected to Arduino by a Serial Backpack V2 / http://www.olimex.cl/product_info.php?products_id=975&product__name=Serial_LCD_Backpac k_V2

 

Circuit Diagram (prototype)